
「股票解禁」撞上「羊毛 Bug」,拼多多「逆市」收涨 0.72%
1 月 23 日早间消息,拼多多周二「逆市」收涨,截至收盘,拼多多报 25.17 美元,涨幅达 0.72%,市值 278.83 亿美元。

拼多多近日遭遇两大利空,一方面,拼多多被曝出现重大漏洞,引来大批用户「薅羊毛」,导致公司声誉和资金遭到重大损失。
另一方面,拼多多股票的禁售期将于 1 月 22 日结束。届时,将有大量拼多多股东二级市场出售股票进行套现。(来源:)
字节跳动回应「接盘锤子」:收购部分专利权,正常的人才流动
1 月 22 日,据凤凰科技引援锤子科技内部人士透露,1 月 21 日已经接到临时通知,要求改签劳动合同到今日头条的母公司「字节跳动」。
该内部人士还向上述媒体透露,如此前今日头条对外声明所言,其看中的是锤子科技的硬件和软件,「我们会签放弃锤子这边的假期、股权什么的,然后再签头条 6 个月试用期。」凤凰网指出,这次劳动合同改签,坐实了字节跳动收购锤子科技的传言,只不过具体收购细节目前还没有得到双方的正式公布。
对此,字节跳动回应称「字节跳动收购了锤子科技部分专利使用权,探索教育领域相关业务。因为具体交易涉及保密条款,不便披露。也有锤子员工入职公司,这是正常的人才流动。」(来源:凤凰科技)

华为:已在 10 个国家部署 5G,未来一年将再拓展 20 个国家
据彭博社消息,华为副董事长胡厚崑在达沃斯小组讨论中表示,目前股票弹幕看拼多多:解禁+漏洞,为啥还涨了?,华为已经在 10 个国家部署了网络,预计未来 12 个月将在 20 个国家部署 5G。
此前,华为董事长梁华曾透露,华为已在全球参加了几十个 5G 网络的商用测试,测试数据表明华为目前的技术成熟度比行业其他公司至少领先 12 个月到 18 个月不等。(来源:新浪科技)
苹果公司或将从明年起不再使用 LCD 显示屏
1 月 22 日上午消息,据外媒《华尔街日报》报道,苹果公司计划从明年起不再使用 LCD 液晶材质作为屏幕,这意味着 2019 年推出的 XR 将是最后一款使用这种材质的 。
LCD 液晶材质曾是 赖以成名的关键部件之一,自 4 手机开始,苹果在 LCD 深入研究,让他们造出了世界上最惊艳的手机屏幕,并且凭借这点让自家手机大卖特卖,即便之后 的屏幕分辨率被其他手机超过了,但至今依旧有其他厂商将 屏幕作为行业标准与之对比。(来源:新浪数码)
正与空客合作,在澳大利亚测试太阳能联网无人机
1 月 22 日消息,据国外媒体 报道, 正与航空巨头空客()合作,在澳大利亚测试太阳能联网无人机。此前, 制定了雄心勃勃的太阳能无人机计划,希望为全世界提供互联网接入服务,但这个计划去年被搁置了。如今,该计划又重启了。

和空客的目的是,测试来自社交网络的有效载荷。但由于文件涵盖了测试前的计划和会议,因此不知道结果如何。(来源:)
欧盟计划出台新版权法,谷歌或因此关闭欧洲大陆新闻服务
据彭博社消息股票弹幕,欧盟目前正打算出台一项新版权法,该法律将赋予出版商在发现他们的文章片段出现在新闻搜索结果中或被用户分享时,向 、 以及其他网络平台要求支付费用的权力。欧盟本计划于本周初敲定新规定,但由于成员各国对部分条款存在分歧而导致计划推迟。延迟进一步拖延了立法程序。
根据谷歌的欧洲、中东及非洲公共政策经理詹妮弗·伯纳尔的说法,这一前景促使谷歌考虑从欧洲大陆撤出谷歌新闻服务,以应对此新规定。她说,公司具有较多选择,在做出任何决策之前将对最终情况进行分析。她还补充说,谷歌其实并不愿意从欧洲撤出其服务。(来源:)

知乎短视频应用「即影」上架应用商店,仍处于内测阶段
1 月 22 日,知乎短视频「即影」于苹果 App Store 和各主要安卓应用商店上架,知乎称仍处于内测阶段。

该 App 定位是简单好玩的日常生活记录方式,帮助快速制作风格独特的影像内容。即影的首页便是好友拍摄的视频,四格卡片式的设计与 Snap 类似,抖音上周发布的多闪亦是采用相似的设计。
据悉,知乎对短视频的兴趣由来已久,去年 6 月改版后,知乎在应用首页新增了视频专区,以 3-5 分钟的短视频为主,在此之前,知乎已在应用内集成了短视频制作工具。2018 年 12 月,「即影」开始针对少量种子用户内测。该 App 关注社交,鼓励用户在微信上分享,创始人周源也经常在上面「刷脸」。(来源:)
优必选 C+ 轮融资即将到位,估值达 100 亿美元

1 月 22 日,据优必选官方消息,优必选 C+轮融资即将到位,将会在合适的时间公布。
此前,在 2018 年 9 月的年度发布会上,优必选 CEO 周剑曾透露,正在推动新一轮融资,公司估值将(在新一轮融资后)达 100 亿美元,未来预期 3-5 年间将提升至 300-500 亿美元。(来源:雷锋网)
第三批游戏版号下发:总数为 93 个,腾讯网易依旧无缘
1 月 22 日上午消息,原国家新闻出版广电总局官方显示,第三批游戏已经下发,总数为 93 个,审批时间为 1 月 7 日。其中,腾讯、网易两大游戏公司在此次版号下发名单中继续缺席。
自游戏版号审批重启至今,上述两家游戏公司仍未获得版号。此前已经有 164 款游戏取得版号。(来源:新浪科技)
滴滴出行成立春节安全工作指挥部:全力保障春运
1 月 22 日消息,滴滴出行发布官方春运公告,公告中称,自本周起,全国为期 40 天的 2019 年春运(1 月 21 日至 3 月 1 日)正式开始,滴滴将成立春节安全工作指挥部,程维、柳青任总指挥,要求各个部门、各地分公司严格落实春节安全生产保障措施和企业安全生产主体责任。
滴滴在公告中要求各级负责人、区域负责人、客服团队、应急处置人员实行 24 小时轮岗值班制度,全力保障春运期间高效应答并妥善处置各类紧急事件。(来源:腾讯科技)
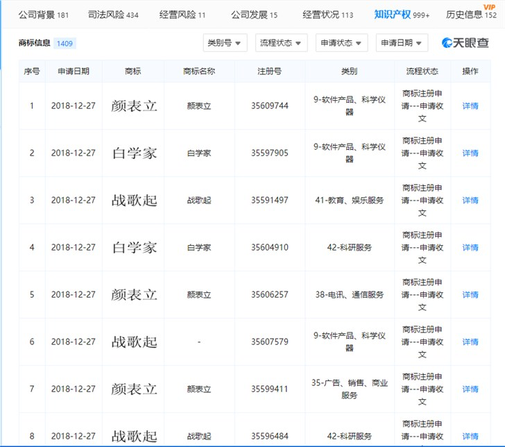
哔哩哔哩公司注册多个「热门弹幕」商标
1 月 22 日消息 据天眼查消息,哔哩哔哩公司上海幻电信息科技有限公司于近日申请注册了多个商标,包括开口跪、战歌起、颜表立,还有白学家等。

据悉,开口跪、战歌起、颜表立,还有白学家等都是 B 站 2018 年度十大弹幕词榜单中的一员。目前尚不清楚 B 站申请注册这些商标的具体用途。(来源:IT 之家)
日本考虑对谷歌苹果等科技巨头进行隐私监管
据日媒报道,日本通信部的一个专门小组表示,日本应该考虑修订法律,以便对谷歌、苹果、 和亚马逊等海外科技巨头实施「通信保密」规定。
该专家小组周一公布了这一草案,该草案列出了将国内隐私保护规则应用于全球科技企业的相关问题,呼吁研究如何对全球科技企业实施相关规定,包括要求它们在日本派驻代理商,同时还要与日本本土公司一样遵守的现有法规。(来源:新浪科技)

菜鸟在南京启用全国首个物联网机器人分拨中心
1 月 22 日消息,菜鸟网络宣布,全国首个物联网(IoT)机器人分拨中心在南京启用。菜鸟表示,通过 IoT 技术,正在加速实现南京快递物流业的数字化、智能化,南京正成为一座物流 IoT 新城,并辐射周边华东地区,让包裹越来越多时,速度越来越快。而此次在南京启用的国内首个物联网机器人分拨中心,主要用于中大件分拨。

据介绍,该机器人分拨系统可以处理超过九成商超类包裹,比传统人力分拨效率提升 1.6 倍。同时可以快速部署、搬迁,并根据业务增加分拨流向,便于快速复制,将持续提升全行业的自动化水平。(来源:网易科技)
苹果新专利:笔记本在触控板可置入 设备
近日,外媒得到一张获得批准苹果最新专利图,得以一窥苹果畅想的移动和桌面设备混合化的未来,尽管其可能并非用于 XI,但已用于连接苹果和桌面设备的桥梁。

可以看到在专利图中, 一台 设备可用来驱动一台苹果品牌的笔记本, 专利图中的笔记本在触控板部位拥有一个凹槽, 可置入 设备。(来源:)
消费者版 2019 在华上市,售价 748 元
1 月 22 日消息,微软中国今日宣布,面向消费者及小型企业的 2019 正式上市,包括 家庭和学生版 2019 及 小型企业版 2019。
2019 在 2016 的基础上进行了全面更新,是新一代 PC 端永久使用零售版。根据官网显示, 家庭和学生版 2019 售价为 748 元,适用于 1 台 或 Mac。(来源:网易科技)

《纽约时报》对 近年报道几乎完全负面
1 月 22 日据外媒报道, 的高管们认为,《纽约时报》对其公司的报道已经变为负面和不公正的。这一观点不完全错误。美国科技媒体 援引数据分析师乔·霍夫德的研究报道称,平均而言,自 2016 年大选以来,《纽约时报》对 的报道口吻几乎完全是负面的。
这名分析师还发现,这一转变始于唐纳德·特朗普当选美国总统的四年前,而且一直持续至今。(来源:新浪科技)



